
概述
一體化鑄鋁機身,不變形,不位移,外觀漆水采用汽車烤漆工藝,砝碼加載結構,性能穩定,5.1吋大屏LCD顯示,可切換硬度標尺HV或HK;菜單式結構,實驗過程自動化,操作簡便;高清光學系統和物鏡,光源亮度可以20級調節,硬度換算功能;對角線長度D1和D2編碼器輸入,減少人為讀數誤差,自動磚塔式物鏡和壓頭可自動切換,定位準確;測量結果和數據處理,可通過打印機輸出。
主要功能
● 5.1吋大屏LCD顯示,可切換硬度標尺HV或HK;
● 菜單式結構,試驗過程自動化,操作簡便;
● 高清光學系統和物鏡,光源亮度可以20級調節;
● 硬度換算功能;
● 對角線長度D1和D2編碼器輸入,減少人為讀誤差
● 物鏡與壓頭可自動切換,定位準確;
● 測試結果和數據處理,可通過打印機輸出
應用范圍
材料研究和科學試驗方面小負荷維氏硬度試驗,測試小型精密零件的硬度,熱處理、碳化、淬火硬化層,表面覆層,鋼,有色金屬、薄片材料和細線材的硬度,刀刃附近的硬度,牙科材料的硬度等,還能測試表面硬化層硬度和硬化層深度。也可用于測試諸如玻璃、珠寶和陶瓷等用洛氏測試方法及其它相對大試驗力測試無法測試的非金屬材料。它能遵循金屬的結構,測試感應硬化或滲碳化等材料的內部硬度。
維氏試驗原理
維氏硬度試驗是用136°正菱形金剛石壓頭,以規定試驗力(F)壓入被測試物體的表面,經規定的保持試驗力時間后,卸除試驗力,用測微目鏡測量試件表面的壓痕對角線(d),計算壓痕的錐形表面積所承受的平均壓力(N/mm2),即維氏硬度值。(詳見圖1.1)。

技術數據
型號 | YHVS10Z(自動轉塔) |
試驗力 | 0.3Kgf、0.5Kgf、1Kgf、3Kgf、5Kgf、10Kgf |
轉換標尺 | 洛氏、表面洛氏、布氏 |
測量范圍 | 8-2900HV |
最小測量單位 | 0. 0625μm (20倍物鏡);0.125μm (10倍物鏡) |
試驗力保荷時間 | 5~60s可調(每1秒為一單位) |
測量精度 | 滿足或高于GB/T4340.2 |
總放大倍數 | 觀察與測量100X 測量200X |
數據輸出 | 內置打印機輸出 |
加荷控制 | 自動(加荷、保荷、卸荷) |
儀器重量 | 約45kg |
試件最大尺寸 | 最大高度165mm ,壓頭中心到內壁130mm |
電源 | AC220V±5%,50~60Hz |
執行標準 | GB/T4340.2國家標準 JJG151檢定規程 |
可選附件 | XY工作臺,CCD測量系統,努氏壓頭、細絲夾持臺 |
附表一
硬度 符號 | 最大誤差 表示為標準塊規定硬度值的百分比 | |||||||||||||||
硬度,HV | ||||||||||||||||
50 | 100 | 150 | 200 | 250 | 300 | 350 | 400 | 450 | 500 | 600 | 700 | 800 | 900 | 1000 | 1500 | |
HV0.1 | 5 | 6 | 7 | 8 | 8 | 9 | 10 | 10 | 11 | |||||||
HV0.2 | 4 | 6 | 8 | 9 | 10 | 11 | 11 | 12 | 12 | |||||||
HV0.3 | 4 | 5 | 6 | 7 | 8 | 9 | 10 | 10 | 11 | 11 | ||||||
HV0.5 | 3 | 5 | 5 | 6 | 6 | 7 | 7 | 8 | 8 | 9 | 11 | |||||
HV1 | 3 | 4 | 4 | 4 | 5 | 5 | 5 | 6 | 6 | 6 | 8 | |||||
HV2 | 3 | 3 | 3 | 4 | 4 | 4 | 4 | 4 | 5 | 5 | 6 | |||||
HV3 | 3 | 3 | 3 | 3 | 3 | 4 | 4 | 4 | 4 | 4 | 5 | |||||
HV5 | 3 | 3 | 3 | 3 | 3 | 3 | 3 | 3 | 3 | 4 | 4 | |||||
HV10 | 3 | 3 | 3 | 3 | 3 | 3 | 3 | 3 | 3 | 3 | 3 | |||||
HV20 | 3 | 3 | 3 | 3 | 3 | 3 | 3 | 3 | 3 | 3 | 3 | |||||
HV30 | 3 | 3 | 2 | 2 | 2 | 2 | 2 | 2 | 2 | 2 | 2 | |||||
HV50 | 3 | 3 | 2 | 2 | 2 | 2 | 2 | 2 | 2 | 2 | 2 | |||||
HV100 | 3 | 2 | 2 | 2 | 2 | 2 | 2 | 2 | 2 | 2 | ||||||
注: 1.當壓痕對角線小于0.020mm時,表中不給出誤差值。 2.對于中間值,其最大允許誤差可由內插法求得。 3.表中值是以0.001mm或壓痕對角線平均值的2%為最大誤差給出的,以較大者為準。 | ||||||||||||||||
表中內容摘于GB/T4340.2。 | ||||||||||||||||
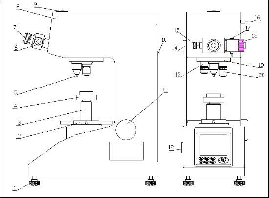
硬度計主機外形

硬度計主機外形
1.調節螺釘 | 2.旋輪 | 3.螺桿 | 4.試臺 | 5.壓頭 |
6.目鏡 | 7.眼罩 | 8.上蓋 | 9.攝像蓋板 | 10.后蓋板 |
11.手輪 | 12.電源開關 | 13.10х物鏡 | 14.燈源 | 15.左鼓輪 |
16.圓插座 | 17.測量按鈕 | 18.右鼓輪 | 19.轉塔 | 20. 20х物鏡 |
面板鍵功能介紹


操作面板
硬度計的使用

硬度計測量硬度的工作過程
壓痕的具體測量方法


硬度計符合標準
GB/T4340.1-1999 GB/T 4340.1-1999 金屬維氏硬度試驗 第1部分:試驗方法
GB/T4340.2-1999 GB/T 4340.2-1999 金屬維氏硬度試驗 第2部分:硬度計的檢驗
ISO 6507-2:2018《金屬材料 維氏硬度試驗 第2部分:硬度計的檢驗與校準》國際標準
ASTM E384-17 材料的努氏和維氏硬度標準試驗方法
JJG151 - 金屬維氏硬度計檢定規程
標準配置
名稱 | 數量 | 名稱 | 數量 |
儀器主機 | 1臺 | 物鏡20x、10x, | 各1只 |
維氏壓頭 | 1只 | 砝碼(5/10KG) | 3只 |
維氏硬度塊 | 2塊 | 大、中、“V”試臺 | 各1只 |
電源線 | 1根 | 10×測微目鏡 | 1只 |
產品使用說明書 | 1份 | 產品合格證 | 1份 |



客服1 