
概述
一體化鑄造機身,不變形不位移,砝碼加載結構,性能穩定,測量精度高,重復性好。位移感器精度高、多種標準硬度換算功能、15種洛氏硬度標尺、7吋高靈敏度觸摸屏操控顯示、測試結果直接輸出到USB、菜單式結構。
● 位移感器精度高;
● 7吋觸摸屏顯示,圖標式結構;
● 15種洛氏硬度標尺的選擇;
● 多種標準硬度換算功能;
● 硬度測試結果直接輸出到USB;
● 具有良好的可操作性和直觀性;
● 結構堅固,剛性好 、準確、穩定、損耗低
應用范圍
測定黑色金屬、有色金屬等洛氏硬度。淬火鋼,調質、退火鋼,冷硬鑄件,可鍛鑄件,鋁合金,銅,軸承鋼等。
技術數據
型號 | HRS-150C |
初試驗力 | 10kgf(98.07N) |
試驗力 | 60kgf(588N) 100kgf(980.N) 150kgf(1471N) |
洛氏標尺 | HRA,HRB,HRC,HRD,HRE,HRF,HRG,HRH,HRK,HRL ,HRM,HRP,HRR ,HRS,HRV |
壓頭規格 | 金剛石洛氏壓頭,φ1.5875mm碳化鎢壓頭 |
硬度分辨率 | 0.1HR |
保荷時間 | 2 ~60S |
硬度轉換標尺種類 | GB、ISO、ASTM |
顯示方式 | 觸摸屏顯示 |
試件最大高度 | 190mm |
壓頭到內壁 | 165mm |
外形尺寸(mm) | 520X240X700mm |
主機重量 | 約80Kg |
電源 | AC220V + 5%, 50~60 Hz |
執行標準 | ASTM T.1、ASTM T.2、ASTM T.3、ASTM T.4、ASTM T.7、ASTM T.8、ASTM T.9、ISO T.A1、ISO T.B2、ISO T.B3、ISO T.B4、ISO T.C2、ISO T.D2、ISO T.D4、ISO T.D6、ISO T.D8、ISO T.E2、ISO T.F5、GB T.1、GB T.2 |
轉換標尺 | HV、HV10、HV5、HV50、HRC、HRA、HR15N、HR30N、HR45N、HRB、 HRF、HRD、 HRG、HRK、HRE、HR45T、HR430T、HR15T、HBS、HBW、Rm(C)、Rm(Cr)、Rm(CrV)、Rm(CrNi) Rm(CrMo)、Rm(NiMo)、Rm(MnSi)、Rm(High)、Rm(STNL)、Rm、HK、HS |
數據輸出 | USB |
洛氏試驗原理
試驗開始時,試驗機壓頭放在試件上,施加初試驗力,并建立一由位移傳測量裝置測出的基準點。因為初試驗力使壓頭壓入試件,所以表面的光潔或不規則不會影響試驗。接著試驗機施加主試驗力,這一較大的力,進入試樣更深,然后卸除主試驗力,同時保持初試驗力,此時,試驗機測量相對于既定的基準點的凹痕深度。凹痕的直線深度是洛氏硬度數值的基礎。凹痕深度淺只表示材料硬度較高,凹痕深度相對深,則表示材料硬度較軟。

硬度計測量原理圖
HRC.A=100-n1-n0 0.002
HRB=130-n1-n0 0.002
式中:n0 — 在初試驗力F0作用下,壓頭壓入試樣的深度
n1 — 在以施加總試驗力F,并卸除主試驗力F1,但仍保持初試驗力F0時壓頭壓入試件的深度。
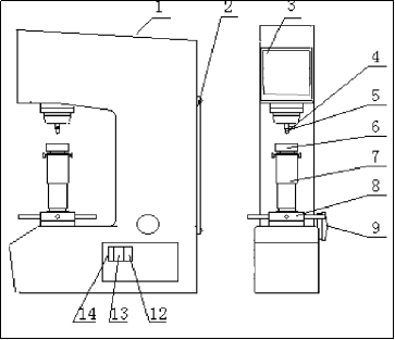
硬度計主機外形

硬度計主機外形
1.上蓋 | 2.后蓋 | 3.顯示屏 | 4.壓頭止緊螺釘 | 5.壓頭 |
6.試臺 | 7.螺桿 | 8.旋輪 | 9.手輪 | 10.RS-232插口 |
11.打印機 | 12.電源插座 | 13.保險絲 | 14.開關 |
硬度計符合標準
GB/T 230.1-2018 金屬材料 洛氏硬度試驗 第1部分 試驗方法
GB/T 230.2-2012 《金屬材料 洛氏硬度試驗 第2部分:硬度計的檢驗與校準》國家標準
JJG 112-2013_金屬洛氏硬度計(A,B,C,D,E,F,G,H,K,N,∕T標尺)檢定規程
ASTM E18-2015金屬材料洛氏硬度試驗方法標準
ASTM標準-金屬試驗方法及分析程序
標準配置
名稱 | 數量 | 名稱 | 數量 |
金剛石洛氏壓頭 | 1只 | φ1.5875mm球壓頭 | 1只 |
大、中、 V型試臺 | 各1只 | 標準洛氏硬度塊 | 共3塊 |
砝碼A、B、C | 共3只 | 大、中、 V型試臺 | 各1只 |
電源線 | 1根 | 產品合格證 | 1份 |
產品使用說明書 | 1本 | 電源線 | 1根 |



客服1 